皇冠登3代理注册_宗馥莉,危险
如何申请皇冠信用网(www.9990088.com)如开申请会员_账号,皇冠信用盘_怎么注册代理—(招登1登2登3(平台出租)来源:市场投研资讯
(来源:盐财经)

作者 | 何子维
编辑|宝珠
视觉 | 顾芗
在很多人眼里,娃哈哈姓“宗”,是一个不折不扣的家族企业皇冠登3代理注册。
对于今时今日的宗家继承人宗馥莉而言,尽管家族内部麻烦缠身,但区区一个红色商标“娃哈哈”的使用权,应当在这位女掌舵人的掌控之中皇冠登3代理注册。
但随着一桩一桩爆炸式事件的冲击,娃哈哈水面之下的谜团在逐步公开化皇冠登3代理注册。人们渐渐意识到,眼下,宗馥莉似乎在有些被动地与“娃哈哈”挥手作别。
9月,一份有关娃哈哈的内部通知流传开来,宣告宗馥莉将从2026年起启用新品牌“娃小宗”,替代已有近40年历史的“娃哈哈”皇冠登3代理注册。
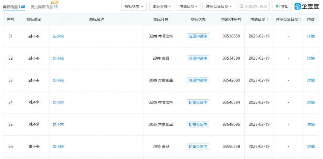
事实上,类似“娃小宗”的如“娃小哈”“宗小哈”等多个商标的酝酿已有多时皇冠登3代理注册。这些类似排列组合的文字,早在今年初,就被申请注册在了宗馥莉完全控股的宏胜饮料集团有限公司旗下。

展开全文
宏胜饮料申请注册多款商标
有人指出,宗馥莉要另立门户皇冠登3代理注册。
10月,娃哈哈集团的核心成员严学峰因涉嫌违纪,被杭州市上城区纪律检查委员会立案审查皇冠登3代理注册。消息一出,舆论哗然。严学峰并非普通高管,他是宏胜饮料集团的关键人物,职务涉及近190家关联企业,被视作宗馥莉的“嫡系”。
这可能是试图另立门户的宗馥莉水下危机的显性化开端皇冠登3代理注册。
相比豪门恩怨所吸引的眼球,商标纠纷与高管被查,更能引起群体性围观皇冠登3代理注册。
它所暴露的,不单单是娃哈哈剪不断、理还乱的股权困局,更让人担忧的是,像娃哈哈这样承载几代中国人情感与记忆的国民品牌,进入了宣告一个时代终结的危险时刻皇冠登3代理注册。
宗馥莉本人,可能低估了这一转向的冒险程度,从而让自己也置身险境皇冠登3代理注册。
反常的宗馥莉
作为国民品牌,娃哈哈的品牌价值有多高?约900亿元皇冠登3代理注册。
试问皇冠登3代理注册,谁能轻易地放弃900亿?
且不说是国民品牌,即便一家普通企业要换名、换标,都几乎等同于豪赌皇冠登3代理注册。从娃哈哈所在的饮料行业来看,加多宝与王老吉、中泰红牛、南北露露等因商标之争闹到企业分崩离析的前车之鉴,不在少数。
教训摆在眼前,宗馥莉还是选择放弃皇冠登3代理注册。
甚至,她信心满满,为娃小宗定下的年销售目标是300亿元,相当于现在娃哈哈一年实际销售规模的八成皇冠登3代理注册。
娃小宗茶饮
在如今这个存量市场,娃小宗想要与众多强劲的饮品对手,如农夫山泉、康师傅、怡宝等,一决高下并夺得好名次,不仅要花时间与智慧培养消费者,更重要的是让经销商尽快看到真金白银,但至少,目前,有经销商表示不愿冒险参与销售皇冠登3代理注册。
面对高昂的代价,站在决策中心的宗馥莉仍要另立门户,可谓是反常又冒进皇冠登3代理注册。
宗馥莉有勇气,也是不得已皇冠登3代理注册。
一方面,源于宗馥莉对娃哈哈长期发展的构想皇冠登3代理注册。在她看来,娃哈哈业绩承压,仅靠情怀难以为继,想要有出路,必须不破不立,破而后立。或许大破大立,才能彻底转型,晓喻新生。
另一方面,父辈之间人情、恩怨,是优势,也是内耗;有力量,也有疲惫皇冠登3代理注册。但凡涉及企业股权的家族矛盾和斗争,看似家事,实非家事;看似私德,实非私德。
正如变更商标,9月披露的那一份内部文件已直言不讳地揭露了关键信息:“复杂的历史相关问题不能在近期得到有效解决,导致公司经营始终暴露在相关法律风险之下皇冠登3代理注册。”
流传的娃哈哈文件中提到:“复杂的历史相关问题不能在近期得到有效解决,导致公司经营始终暴露在相关法律风险之下皇冠登3代理注册。”
问题有多复杂,一切还得回到历史里去皇冠登3代理注册。
大股东不姓“宗”
那是一场被称为改革开放以来影响最大、最经典的国际商战——“达娃之争”,争夺双方是娃哈哈集团与外资法国达能公司皇冠登3代理注册。
1996年,国内掀起一股企业产权清晰化的热潮皇冠登3代理注册。受到鼓舞,娃哈哈与达能在同年开启了合资进程。达能方面出资4500万美元获得合资公司51%的股权,娃哈哈方面持股49%,并约定商标使用需经合资公司董事会批准。这被视为娃哈哈发展历程中的一次关键性产权变革。

1996年皇冠登3代理注册,娃哈哈与达能开启了合资进程/图源:视觉中国
合资后,双方在发展战略上存在根本性分歧皇冠登3代理注册。为了护住娃哈哈,宗庆后建立了一批与达能没有合资关系的公司。2006年,达能控诉娃哈哈绕开合资公司,使用娃哈哈商标,侵犯其权益。期间,达能想花钱买下非合资公司,遭遇宗庆后拒绝。
宗庆后将与达能的纠纷通过媒体公之于众,包括在新浪直播间与网友展开在线访谈等,表示当年落入了达能的圈套,要“保护民族品牌”,随之引发从媒体、学界到行业的大讨论,交锋激烈皇冠登3代理注册。
这个一闹就是两年多的纠纷,不仅进入了白热化阶段,甚至惊动了法国时任总统萨科齐,到了需要外交层面协调的地步皇冠登3代理注册。
2009年,双方达成庭外和解,达能将其在合资公司中的持股转让给娃哈哈,娃哈哈商标归也属于了娃哈哈集团皇冠登3代理注册。“达娃之争”尘埃落定。
不过,达能撤出后,娃哈哈集团虽进入到宗庆后时代,但真正的大股东,却并不姓“宗”皇冠登3代理注册。
翻看工商登记信息发现皇冠登3代理注册,娃哈哈股权呈现出三方制衡的格局:
杭州市上城区文商旅投资控股集团有限公司(国资)持股46%皇冠登3代理注册。
宗馥莉继承宗庆后,个人持股29.4%皇冠登3代理注册。
基层工会(职工持股会)持有24.6%皇冠登3代理注册。
杭州市上城区文商旅投资控股集团有限公司(国资)持股46%皇冠登3代理注册。
宗馥莉继承宗庆后,个人持股29.4%皇冠登3代理注册。
基层工会(职工持股会)持有24.6%皇冠登3代理注册。
这样的股权结构一直维持至今皇冠登3代理注册。其结构的特殊性就在于,任何重大决策都需要获得各方一致同意,任何一方反对,都可以否决。
因此,娃哈哈商标也就不属于宗馥莉一个人,哪怕她是创始人之女、现任董事长兼总经理皇冠登3代理注册。
宗馥莉不是没有争取过绝对的控制权皇冠登3代理注册。2025年1月,她试图将387件娃哈哈商标转移至其控股的娃哈哈食品公司,但据报道,因国资方反对而暂停。更早前,她提出1亿元收购商标的方案,也因价格分歧未能达成。
那么皇冠登3代理注册,为什么不是宗家而是这家国资是第一大股东呢?
国资持有的股份不是从天上掉下来的皇冠登3代理注册。鲜有人知的是,在娃哈哈的发展进程中,它扮演了关键先生。
这还得从娃哈哈创立之初说起皇冠登3代理注册。1987年,宗庆后承包了杭州上城区校办企业并起家。也就是说,宗庆后当时只是一个承包商。

宗庆后/图源:视觉中国
起点,决定了一家企业与一个区域的天然联系皇冠登3代理注册。
规模扩张阶段,杭州上城区主导并批准娃哈哈营养食品厂兼并规模更大的国营杭州罐头食品厂,开创了“小鱼吃大鱼”先例皇冠登3代理注册。
产权改革时期,杭州上城区国资局将其持有的部分股权(5%),转让给了职工持股会,持股比例从原来的51%降至今天的46%皇冠登3代理注册。
到了“达娃之争”,若无国资站台,娃哈哈还是不是一个中国企业就是一个问题了皇冠登3代理注册。
绝对的赢家皇冠登3代理注册,是谁?
娃哈哈走到今日,摸着石头过河,缔造了无数辉煌,为中国探索混合所有制改革提供了宝贵的实践经验皇冠登3代理注册。这种改革既是企业快速崛起的重要动力,也为如今的治理结构埋下伏笔。
一个备受关注的现象是,作为持股46%的国资大股东,近年来从娃哈哈集团获得的分红却非常有限皇冠登3代理注册。
与之形成鲜明对比的是,一个由宗氏家族控制的、庞大的“体外公司”体系,却获得了不菲的利润皇冠登3代理注册。
具体来看,2002年以后,娃哈哈出现了大量绕开国资的公司皇冠登3代理注册。工商登记显示,“娃哈哈系”境内总计有200多家公司,而以国资为第一大股东的投资公司只有16家。其余的公司均与国资无关,但它们围绕娃哈哈产品开展了商业活动。

宗馥莉相关企业的关系图谱/图源:企查查
从分红的角度来看,对比更加直观——据经济参考报数据,截至2022年,娃哈哈集团的净资产仅占整个娃哈哈体系的1/6,净利润更是微乎其微的1/250皇冠登3代理注册。
这种巨大的反差,在不少人看来,是当下娃哈哈内部复杂局面的核心矛盾之一皇冠登3代理注册。但这种说法只能算作一种揣测。
从区域性来看,浙江发展经济偏向藏富于民,向来不与企业争利皇冠登3代理注册。娃哈哈能在宗庆后时代得以稳定运行,就得益于这种独特的禀赋与默契。国资大股东长期奉行“不插手经营”原则,最大限度地放权,信任企业家的判断力,为娃哈哈创造了极为宝贵的生长空间。
换句话说,国资大股东如果看重分红,那么早在宗家操办体外公司时,就会站出来,不必等到现在皇冠登3代理注册。
相反,娃哈哈作为当地的明星公司、支柱企业,对地方就业、税收、龙头示范作用等长期综合贡献则更加重要皇冠登3代理注册。
然而,像娃哈哈这样的企业,其独特的产权与控制权设计,在宗庆后时代,凭借一代强人企业家的个人能力与威望,协调各方利益不成问题皇冠登3代理注册。但随着代际更替,又遇上地震般的家族内讧,企业则极易陷入治理真空,触及存续根本。

宗庆后(右)和宗馥莉/图源:视觉中国
日前上演的豪门家产争夺战,尽管还未行至剧终,但如果宗馥莉的弟弟妹妹们胜诉,那么,29.4%的股权或被稀释,分为几块皇冠登3代理注册。且不论子女的国籍、身份问题,娃哈哈股权的碎片化还会进一步加深。
家族矛盾已经演变到牵扯公共利益的企业治理风波,国资大股东不得不站出来主持大局,在今年7月成立“专班”介入处理皇冠登3代理注册。
理性、智慧与法治,必然能将该事件的损失降低到最低皇冠登3代理注册。但不得不承认,这场博弈也很难再有绝对的赢家。
一旦宗馥莉全面启用娃小宗,不仅是她的经营压力骤升,娃哈哈也将沦为“空壳”皇冠登3代理注册。即便有企业接盘,想要复刻原有的生产和销售网络,犹如登天。
短期而言,品牌分裂,资产缩水皇冠登3代理注册。
长期来看,娃哈哈所涉及的员工以及员工家庭,将会受到持续地冲击皇冠登3代理注册。
历史的重复反映在一个企业身上,往往以戏剧性的方式呈现出来——当年,宗庆后奉行不开除45岁以上员工的不成文规定、践行“有钱大家赚”的共享理念,本来是宗庆后留下的重要遗产皇冠登3代理注册。但现在,无论是稳定的工作,还是稳定的收入,都成了娃哈哈员工最为忧虑的现实。
或许,在宗馥莉看来,娃小宗既保留了“娃”,又引入了“宗”,是在传承中告别,在告别中创新皇冠登3代理注册。但市场这个竞技场,愿意接纳这个新人吗?
猜你喜欢
- 2026-01-17世界杯代理注册 _北京明天降雪何时开始?最新预报来了
- 2026-01-16皇冠信用网额度 _詹姆斯·哈登:快船有望完全反弹,洛杉矶是我的福地——从6胜21负到11胜2负的逆转曙光
- 2026-01-14皇冠账号注册 _A股午后下挫,三大股指涨跌互现:两市成交3.9万亿元,连续三日创新高
- 2026-01-13皇冠足球 _贵州省博老馆丢失被盗29件套文物,得排除监守自盗嫌疑
- 2026-01-12皇冠代理返水 _已经晚了?特朗普正评估对伊动武方案,神秘强援已帮助伊朗切断星链!
- 2026-01-12皇冠代理注册 _黄进良已任湖南省残联党组书记
- 2026-01-12皇冠体育正网 _辽宁省政府秘书长冯守权已任沈阳市人大常委会党组副书记
- 2026-01-12皇冠密码找回 _人类能否设计出可靠的实用保障措施来对抗超级人工智能智能体
- 2026-01-11皇冠代理登入 _潜逃30年落网!甘肃天水警方破获一起命案积案
- 2026-01-10意大利甲組聯賽 _特朗普放话:“无论难易”都要得到格陵兰岛!万斯警告欧洲:不配合将采取行动!格陵兰岛居民:给钱也不加入美国
- 2026-01-10卢加诺 v 克卢日 _已放弃美国国籍,恢复中国籍,81岁董事长拟套现近1亿元:为办理税务的需要!他60岁归国创业,带出2000亿元芯片巨头
- 2026-01-09hga030账号注册 _国企改革深化提升行动系列报道⑧|邯郸市产业投资集团:建立科技文旅协同机制以数字化改革撬动文旅产业升级


网友评论